| THE INDUSTRIAL RAILWAY RECORD |
© JUNE 1967 |
![]()
I have one minor correction to make to this most interesting article in RECORD 12. The second PIONEER (pages 281 and 289 was undoubtedly a saddle tank, not a pannier tank. As Mr Yeatman points out, PIONEER was a very odd engine, and its tank was odd too compared with the usual design of saddle tank. But makers' drawings and photographs show quite clearly that the tank comfortably covered the top of the boiler and had a single central' filling point.
When doing research into the history of the Pentewan Railway I thought to begin with that 1903 was PIONEER's building date, but our Records Officer had 1904 and it appears thus on page 289. The makers told me that 1903 was correct, and the Lodge Hill & Upnor apparently always considered it as 1903 also – even though by March 1905 it had run no appreciable mileage. The works plate, as far as I can see from a photograph, had no date on it.
| GREENWICH, S.E.10. |
Yours etc., Dr M. J. T. LEWIS |
(One Editor, being custodian of some official Yorkshire Engine Co. records, bows his head in shame for letting these errors slip through! In penance we thought a few details extracted from YE records would not come amiss.
404 CARBON, 405 SULPHUR (nameplates). Specification dated 29th October 1884 and ordered 23rd February 1885 by the Secretary of State for War. 9in by 14in cylinders, 2ft 6in coupled wheels, 1ft 9in bogie wheels. Steel boiler and copper firebox. Boiler tested to 160lbs pressure. Roscoe's No.1 size lubricator. Moriarty's spark arrester. Instead of injectors fitted with two No.2 Hancock's Patent Inspirators. Three coats of paint, neatly lined out, and two coats of varnish. Despatch dates not known. (CARBON was illustrated by the Narrow Gauge Railway Society in their magazine, "The Narrow Gauge", No.42.)
462 LANCASHIRE (nameplates). Specification dated 24th July 1890, and ordered 27th August 1890 for delivery by February 1891 at New Brompton Railway Station, Chatham. (Not despatched by makers until 9th April 1891.) 10in by 15in cylinders, 2ft 6in coupled wheels, 1ft 8in bogie wheels. 160lbs pressure. Roscoe's No.2 lubricator. Steam and hand brakes. Spark arrester. One pump and one No.2 Class A Hancock's Inspirator. "The cylinders to be of cast iron as hard as can be worked." (A drawing and photograph appear in "The Narrow Gauge", No.42.)
711 LORD KITCHENER (painted name), changed to KITCHENER by May 1918. Ordered 11th November 1901 for delivery by 15th May 1902 under heavy penalty. "Erection complete at Contractor's works for the customary trails, taking down and packing as for shipping, re−erection at Woolwich or Chatham as may be directed." Delivered new to Chatham, but date not known. 13in by 16in cylinders, 2ft 6in coupled wheels, 2ft 0in bogie wheels. Two Roscoe lubricators instead of double sight feed lubricators as originally specified. Sliding shutters in cab. One No.7 injector and one pump. Two hoppers to sandboxes. Painting, lining and varnishing at destination.
757 PIONEER (painted name). Also recorded as WD 213 in December 1903. Ordered 18th August 1902 for delivery by 18th April 1903 under penalty, but not recorded as ex−works until 23rd November 1903. The drawings prepared by the War Office were "improved on in places" by YE. "The engine is an experimental one .... has to work with bad water .... the question of minimising the weight is of the first importance " 6in by 14in cylinders, 2ft 6in coupled wheels, 1ft 6in bogie wheels. Steam brake. One Furness lubricator and one Wakefield sight feed lubricator. One No.3 and one No.4 Gresham Patent Injectors. Tanks arranged for water and oil with oil heating pipe in tank. Central buffer. Under date 30th August 1904 several minor alterations were made by YE as per specification (presumably at Chattenden) and PIONEER was then painted with two coats of black and lined out in red like LORD KITCHENER. (Further details of PIONEER's history may be found in "The Pentewan Railway 1829-1918" by M.J.T. Lewis.)
Much of YE's output before 1947 was anything but locomotives and included many colliery haulage and winding engines, and even a few motor cars. Of several cranes built was one for the "Upnor & Chattenden Rly. (War Office)", and this, a 10−ton breakdown crane, was ordered on 18th September 1894. The bogie on which it was to be mounted was delivered to YE on 15th October 1894, but the despatch date is not known. – Hon. Eds.)
* * *
Referring to the locomotive YORKSHIRE (John Fowler 5350) on pages 289 and 290 of RECORD 12 I'm afraid I cannot help except to the extent of saying that its date would be about 1887, although 1885 would not be impossible. The reason I cannot say more is that there was no continuous list of Fowler products before about 9,000. The details I have were taken from a considerable number of order books in which no strict numerical order was maintained, and in fact two or three orders from the same customer spread over say ten years might appear on the same page. There were several locomotives to be found, but these Fowler books have been destroyed so that there is no opportunity of referring to them again.
| LONDON, N.12. |
Yours etc., ALAN DUKE |
(We should be pleased to hear from any reader with a knowledge of early Fowler locomotives – or any Fowler steam locomotives for that matter, as our records are decidedly brief, – Hon. Eds.)
Further to Mr Yeatman's most interesting article in RECORD 12, I would like, to make some comments about the Manning Wardle locomotives which saw service there.
ROYAL ENGINEER – 602 of 1876. I understand that this loco was disposed of to Wm. Rigby & Co., contractors, at Erith, and not to Woolwich Arsenal as state in footnote (1) on page 288.
VAUBAN – 937 of 1885. I believe this loco arrived at Slough in August 1918 bearing the name THOR. It is possible that it was at Woolwich Arsenal between 1904 and 1918; if this is so, the fact that Woolwich already had a loco name, VAUBAN (1ft 6in gauge MW 685 of 1877) could explain why MW 937 was renamed THOR
BURGOYNE – 949 of 1885. The list on page 287 quotes outside cylinders but the loco was a class K with 12in by 17in inside cylinders and 3ft 1.3/8in wheels. I believe this loco was also used at Woolwich Arsenal where it was name, KIMBERLEY, but whether this was before or after its term of service at Chattenden, is not clear. The name BURGOYNE was painted on the saddle tanks at Chattenden
PIONEER – 962 of 1885. Like 949, this loco was also at Woolwich at some time where it was named LORD ROBERTS.
NAPIER. Whilst the suggestions on page 288 – that it was MW 948 of 1885 any that it was later at Lydd – could very well be correct, I would like, to suggest that it might very well have been MW 961 of 1886, which is known to have worked at Woolwich carrying the name LORD NAPIER.
NICHOLSON. There was a loco of this name at Woolwich, MW 847 of 1882, which could well be this loco. Transfers of military locomotives must have occurred at frequent interval, and it is fairly certain that we shall never be able to establish the full story, I offer the above comments, therefore, in the hope that they may spark of somebody else's cross-references.
| NEW MAIDEN, SURREY. |
Yours etc., R. CROMBLEHOLME |
(Club records have hitherto shown MW 602 as having been used by the Admiralty at Chatham Dockyard, but this is probably erroneous. The loco was delivered new to the "Secretary of State for War, Chatham". Chatham was, of course, the nearest main line station of importance to Chattenden. The loco is well remembered and documented at Lodge Hill, and ROYAL ENGINEER is a misnomer for an Admiralty loco. We appear to have mistakenly amended footnote (1) during the editorial work on this article, and Mr Crombleholme's assumption of ROYAL ENGINEER's disposal is probably correct. – Hon. Eds.)
* * *
I visited this railway in May 1949 and July 1950 and can add a little to the information in RECORD 12. On page 290 the works number of YARD No.84 should be 242919. To the list of battery locomotives on page 291 should be added 121, 122, 281 and 287, which were steeple cab machines of similar design but somewhat smaller and of more primitive appearance to the six Greenwood & Batley locos listed. 121 (at least) differed from the types described on pp 290-291 in that, although of "rectangular" construction, the bonnets had sloping tops and the front and rear of the cab had four-paned "cottage" type windows. These four machines were painted green with red and white lining, but I could find no builders' plates on them.
Of the trolleys (mostly painted grey 110 was a passenger vehicle (?unique) with "knifeboard" seating (i.e.. side benches), canvas tilt, and headlamps. 111, 112, 115 and one other (?? 113), shown as Wingrove & Rogers on page 291, carried plates "Edison Accumulator Vehicle No.X, Model GB type Z, Load capacity 40cwt", the reference numbers (signified by X and Z) being, for 111, 112 and ?113 respectively (X) 999−1, 1046−5, 1045−4, and (Z) 6−B6−WB, 6−B6−RA, 6−B6−RW. The plate on 115 quoted no numbers. 114, 117 (not listed in Record 12) and 119 were all identical trolleys built by Wingrove & Rogers.
The above shows that there is a lot of sorting out to be done and much more information to be discovered.
| ROMILEY, CHESHIRE. |
Yours etc., D. E. SHEPHERD. |
(The "GB" in Edison Accumulator Vehicle Model GB suggests to us that the vehicle may have been built by Greenwood & Batley. Readers who visited Chattenden are invited to turn up their old notebooks and write in with any additional information or comment. – Hon. Eds.)
* * *
You may be interested in this photograph (below) taken about 1904 whilst the railway was still controlled by the Army. BURGOYNE (left) and VAUBAN (right) were built by Manning Wardle and are listed on page 287 of RECORD 12.
| DERBY. |
Yours etc., F. MABBOTT |

(Several points are of interest in this photograph, not the least being the lettering U.C.M.R. on the saddle tanks. Notice that VAUBAN (Manning Wardle class E) differs from BURGOYNE (class K) in having two sets of buffers but neither canopy nor spark arrester. It will also be seen that BURGOYNE has inside cylinders (not OC as misprinted on page 287). The wooden contractors' type wagons appear to contain both rock and earth and it seems possible that this photograph was taken during the construction of the Chattenden Naval Tramway to Sharnal Street, Notice the mixed gauge track in the foreground. – Hon. Eds).
* * *
I can offer a few comments on this interesting article which appeared in RECORD 12. Is there any evidence that the Aveling & Porters (Nos. 129, 182, 218, 718, 719 and 1023 listed on page 287 were of the 2−2−0 type? Between 1862 and 1883 several new docks were built at Chatham by convict labour, and the last three Avelings mentioned were delivered new to the Chatham Extension Works. It seems very likely that the first three, delivered new to Chatham Dockyard, were for similar use. A contemporary model of one of the docks under construction can be seen at the Science Museum, South Kensington, and in the bottom of the dock is an Aveling of the 0−4−0 chain-driven type.
"HARVEY (or HARRY)" on page 287 would be HARRY 0−4−0ST 0C Hudswell Clarke 471 of 1896, which was delivered new to the Admiralty, location unknown. It is supposed to have worked on the construction of the Chattenden to Sharnal Street railway and, having completed this work, was transferred to Chatham Dockyard in 1922. She had been scrapped or sold by the time of my visit in September 1932.
Of the 2ft 6in gauge engines (page 289), CARBON was scrapped by 1914; LANCASHIRE, YORKSHIRE and BAGNALL had arrived at Lynch's yard at Strood by June 1930. CHESHIRE was still at Chattenden, out of use, on my visit there on 21st September 1932. CHEVALLIER was not sold through Thos. W. Ward Ltd., but through W. Wills, of Gravesend. The latter firm acquired this engine along with other material and were anxious to find a purchaser. By good fortune they were provided with my name and address by the Naval Officer-in-Charge and asked me to suggest likely buyers. The narrow gauge railways of India seemed a possibility but apparently they were not permitted to import second-hand engines. I suggested that Bowater Lloyds had the only British 2ft 6in gauge industrial track capable of sustaining CHEVALLIER. Fortunately the deal went through and this neat little Manning Wardle was given a new lease of life.
BAGNALL LOCOMOTIVE VALVE GEARS
Mr Baker is to be congratulated on his comprehensive article in RECORD 11.
|
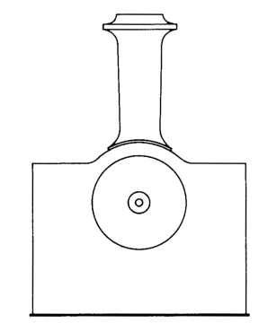
On page 266 mention is made of Bagnall 1439, IRIS, supplied to the Bromley-by-Bow works of the Gas, Light & Coke Co. I think it is correct to say that it went to this firm's Nine Elms works where the gauge was 2ft 0in. Bagnall 1553 was the IRIS going new to Bromley-by-Bow where the narrow gauge system was 2ft 9in. IRIS (1439) is correctly described as a "wing tank" locomotive. This type of tank (see sketch) was officially described by Bagnall as an "inverted saddle tank" which indeed it was. Bagnall dispensed with the normal smokebox saddle and cradled the smokebox in the inverted saddle tank. Both the steam pipes to the cylinders and the exhaust pipes passed through the tank and thus acted as a feedwater heater! The amount of heat transferred was small and I doubt if this was any part of the design. However, the loss of heat by the live steam would not improve efficiency, although this would not matter a great deal in a shunting locomotive of this size. |
|
| UPPER NORWOOD, LONDON, S.E.19. |
Yours etc., G. ALLIEZ |
TRACTION ENGINES AS LOCOMOTIVES
When gathering information for a book on the tramways in the Tay Valley I interviewed several people who remembered the railway between Meikle Seggie and Stronachie Distiller . On most points they agreed, and the facts as set out in Dr Frew's letter RECORD 9, page 218 appear to require some amendment. Stronachie Distillery was constructed for Sir James Calder, and transport of materials was by traction engine until this rutted the road to such an extent that it became impassable to other traffic. A light railway of approximately 2ft 0in gauge was then constructed on the west side of the road. Motive power was supplied, not by traction engine, but by a purpose made locomotive which ran with a front bogie on the rails and rear unflanged driving wheels (about 4ft diameter on either side of the track. At Meikle Seggie the load was transhipped from the small four-wheeled railway trucks to road trailers which were hauled by the same locomotive, now fitted with road wheels in front, to Milnathort railway station. There was no question of the whole caravan leaving the rails at Meikle Seggie and proceeding as it was. On the return journey to Stronachie the last wagon dragged an iron bar to act as a Sprague in case of a breakaway, for the line rose nearly 500ft and had several gradients steeper than 1 in 10. The locomotive ran on either petrol, paraffin or diesel fuel, and may have been of the type demonstrated by Roadrail Loco-Tractors Limited at the 1924-1925 British Empire Exhibition. One of the partners in this firm was a General Stronach, but there does not seem to be any connection between him and Stronachie Distillery despite the similarity of name.
| 'TEMPLECROFT', SALTCOATS ROAD,
GULLANE, EAST LOTHIAN. |
Yours etc., ALAN W. BROTCHIE |
(This book, "Tramways of the Tay Valley", is for the most part concerned with the former passenger tramways in Perth (horse, petrol and electric and Dundee (horse, steam and electric), but the final eleven pages of text and illustration cover the other tramways and light railways. These include industrial lines at Barry Links, Cunmont Quarry, Dalmunzie, Dundee, Glencarse, Glenogil, Inchcoonans, Port Allen, the Tummel Valley, and Tyndrum. Dundee Museum and Art Gallery is the publisher of this admirably produced book (104 pages, 9½in by 7½in, price 10/6) which can be heartily recommended. Mr Brotchie is at present working on a companion volume covering Falkirk, Dunfermline, Kirkcaldy, Stirling and Wemyss. He would welcome any details of the railway to the limestone quarries near Pitlessie (Fife) and passenger workings on the Wemyss Private Railway. – Hon. Eds.
Dr Frew comments further on this subject: – I am glad to have Mr Brotchie's information about the locomotive. Clearly the old people I spoke to were remembering the traction engine which preceded the railway. This, however, could not have operated for very long since the railway was opened at more or less the same time as the distillery. There is definite evidence that for a period the whole train DID take to the road en route to Milnathort. Several old people say that this was so, and the local parish council expressed their displeasure about the damage to the road on many occasions. It is possible that as a result of this the method of working was modified as described by Mr Brotchie, but I have no definite proof of this.
As Mr Farmer's comprehensive article in RECORD 9 is now a little out-of-date readers may be interested in a few notes detailing the present position.
British Railways closed the Bentley to Bordon line with effect from 4th April 1966 and the track was lifted during November and December of the same year, although not before the military authorities had inspected the line with a view of acquisition. Unfortunately the idea fell through as there was no suitable site at Bentley on which to construct a separate LMR station. The LMR now terminates at Martinique Yard at the north end of Oakhanger station. This was the only station on the LMR to be graced with anything more grandiose than a wooden shelter, but all buildings other than the blockpost have recently been demolished. In the mid-1950's it was common, if not official, practice for trains to terminate at Oakhanger rather than at Bordon. Louisberg Coal Sidings, mentioned by Mr Whebell, still exist but do not seem to have been used for a long time.
To the locomotives listed on page 205 can be added saddle tanks 195 and 196 which seem the most popular of the steam locomotives, ARMY 199 transferred from Bicester early in 1966 after overhaul and repaint in green livery, and the Sentinel diesel-hydraulic 0−8−0 890 GENERAL LORD ROBERTSON. Of the locomotives listed by Mr Farmer 102 (now un−named was overhauled during 1965 and repainted in unlined blue. It has latterly been parked in the shed yard out of use. 156 TOBRUK has been out of use for some two years, being in very poor condition. However, fresh in new paint and glowing with "bull" it attracted a lot of attention at the 1965 Aldershot Army Show. Despite Mr Farmer's opinion 157 has been brought back into service. 400 SIR GUY WILLIAMS has been out of use since 10th May 1965 on which date a split appeared in the boiler. 600 GORDON has been unserviceable recently and saddle tank 196 had to be sent to Bristol for display at the October 1966 Open Day at Bath Road Diesel Depot in place of GORDON. 601 KITCHENER was withdrawn two years ago with stay trouble and found to be in need of a new firebox. Its last duty was during the filming of "The Great St. Trinian's Train Robbery" in which it had to be pushed around by a diesel. 601 lies rusting in Longmoor yard still carrying the bright green livery with cream lining, a BR coaching stock transfer on the tender and the number 90152 that it acquired for the film.
The rolling stock is still much as detailed by Mr Farmer, the most notable change being the acquisition two years ago of, half-a-dozen BR standard all−steel non−corridor brake/second carriages. So far two have been repainted in a very drab matt green. Surprisingly this influx of modern vehicles has not brought about the demise of the older passenger stock. In the summer of 1966 the SECR "Birdcage" set was repainted in blue livery and looks very smart. The freight stock is gradually losing the prominent "LMR" lettering in favour of small initials "AD" painted above the vehicle number, A tank wagon recently outshopped was finished in a non−standard "holly" green livery.
An interesting vehicle tested at Longmoor during the first half of 1966 was a prototype tank-carrying wagon built by the Gloucester Railway Carriage and Wagon Company. It had bogies to suit 4ft 8½in, 3ft 6in and metre gauge and was said to be the first really satisfactory multi-gauge vehicle.
| ALDERSHOT, HANTS. |
Yours etc., R. THORNTON |